
Бесплатная адресная доставка по Украине + Скидки на дымоход
и дополнительное оборудование!!!
РЕТРА-6М
Твердотопливный водогрейный шахтный котел Ретра-6М 11 кВт предназначен для бытового использования, работает по принципу нижнего сжигания топлива. Стенки и газоходы котла охлаждаются водой и выполнены с качественной котловой стали. Колосниковая решетка отлитая из чугуна (в модели Ретра-6М Комфорт колосники подвижные), золоудаление - ручное.
Опционально котлы приспособлены для монтажа вентилятора или дымососа и блока управления (контроллера), который контролирует процесс горения и работу насоса центрального отопления.
Твердотопливные шахтные водогрейные котлы Ретра-6М 11 кВт предназначены для работы в системах центрального водяного отопления с принудительной (закрытая система отопления под давлением) или естественной (открытая система отопления) циркуляцией теплоносителя для тепло- и горячего водоснабжения жилых домов, дач, производственных и складских помещений, торговых объектов, зданий социального и административного назначения.
ПРЕИМУЩЕСТВА ШАХТНОГО КОТЛА РЕТРА-6М ПО СРАВНЕНИЮ С КЛАССИЧЕСКИМИ КОТЛАМИ:
- Гораздо больший объем топки и соответственно гораздо большее время работы на одной загрузке (до 8 часов);
- Дешевизна и простота конструкции;
- Возможность сжигать различные виды топлива (дерево, брикеты, торфо-брикеты, уголь, отходы древесины);
- Подвижные чугунные колосники для удобной шуровки топлива (Retra 6M Comfort).
УСТРОЙСТВО И ПРИНЦИП РАБОТЫ:
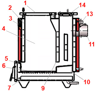
Стальной теплообменник состоит из двух частей: в передней части - камера сгорания, в задней - конвективные каналы. Весь теплообменник охлаждается водой, образуя «водяную рубашку». Вода из системы теплоснабжения растекается по внутренним полостям теплообменника и через его металлические стенки отбирает тепло от топлива горящего (контактным и радиационным способами) и газообразных продуктов сгорания (конвективным способом). Процесс горения происходит на подвижных или неподвижных чугунных колосниках, под колосниками находится зольный ящик. На верхней передней стороне котла размещен люк, на передней стороне люк для удаления золы и шуровки и термометр. На задней стороне находятся: дымоход с шибером, ручка прямой тяги, входящий и исходящий патрубки. Под декоративным кожухом расположен слой теплоизоляции. На левой стороне модели Ретра 6М Комфорт находится ручка механизма шуровки колосников.

- люк загрузки
- стальной теплообменник
- термометр
- камера сгорания
- люк нижний
- чугунные колосники
- зольный ящик
- воздушный канал
- вертикальные перегородки (для Ретра 6М 11 кВт - 2шт.)
- форсуночная плита
- дымоход
- ручка прямой тяги
- ручка шибера
- люк прочисний с глазком
- теплоизоляция
ТЕХНИЧЕСКИЕ ХАРАКТЕРИСТИКИ:
Твердотопливный водогрейный шахтный котел Ретра-6М 11 кВт
| Габаритные размеры котла, мм (Д*Ш*В) | 878*430*894 |
| Площадь обогрева помещения, м2 (при высоте до 3.5м) | 100 |
| Вид топлива | основной режим: дрова, отходы деревообробки фракцией от 20мм; резервный режим: торфобрикет, древесный брикет |
| Номинальная теплопродуктивность, кВт ± 10% | 11 |
| Размер топки, мм: (Д*Ш*В) | 358*315*639 |
| Объём топки, л | 70 |
| Температура воды на выходе из котла, не больше, ºС | 90 |
| Температура воды на входе в котел, не меньше, ºС | 55 |
| Выход под дымоход, мм | 133 |
| Размер горловины загрузочного люка, мм (ширина х высота) | 320*300 |
| Номинальный расход топлива, кг/ч, не больше | основной вид топлива (Q=10 МДж/кг) 4.3; резервный вид топлива (Q=17 МДж/кг) 2.5 |
| Рабочее давление воды, МПа (минимальное / максимальное) | 0.1 / 0.2 |
| Коэффициент полезного действия, % | 80-93 |
| Разрежение за котлом, Па, не меньше | 25 |
| Температура продуктов сгорания, не больше, ºС | 140 |
| Высота дымовой трубы от оси дымохода котла, м | 7 |
| Объём водной рубашки, л | 45 |
| Масса котла без воды, кг | 121 |
ДОПОЛНИТЕЛЬНЫЕ ОПЦИИ (В СТАНДАРТНУЮ КОМПЛЕКТАЦИЮ НЕ ВХОДЯТ):
- Тен;
- Блок управления;
- Дымосос;
- Вентилятор;
- Механический регулятор тяги.
Доставка твердотопливных водогрейных шахтных котлов Ретра-6М 11 кВт осуществляется транспортными компаниями "Новая Почта", "Ин-Тайм", "Мист Экспресс" во все регионы Украины: Днепропетровск, Киев, Ивано-Франковск, Кировоград, Донецк, Суммы, Ровно, Чернигов, Полтава, Черновцы, Херсон, Винница, Запорожье, Львов, Харьков, Хмельницкий, Житомир, Тернополь, Луганск, Одесса, Николаев, Черкассы.
| Основные | |
|---|---|
| Виды твердого топлива | Дрова, Каменный уголь, Бурый уголь, Антрацит, Брикеты |
| Вид топлива | Твердое |
| Теплоноситель | Вода |
| Материал теплообменника | Сталь |
| Производитель | Ретра |
| Мощность номинальная | 11 кВт |
| Страна производитель | Украина |
- Цена: 23 300 ₴











